Infos
Sehr schmal geschmiedete Haken
Besonders für schwer zugängliche Platzverhältnisse geeignet, z. B. im Elektromotorenbereich
Besonders für schwer zugängliche Platzverhältnisse geeignet, z. B. im Elektromotorenbereich
- 3D-Daten vorhanden: Nein
- Abrutschsicherung an der Spindel vorhanden: Nein
- Anzahl der Arme: 2
- doppelseitig verwendbare Haken: Nein
- Haken schwenkbar: Nein
- Hakenbremse vorhanden: Nein
- Hakenende mit Schlitz: Nein
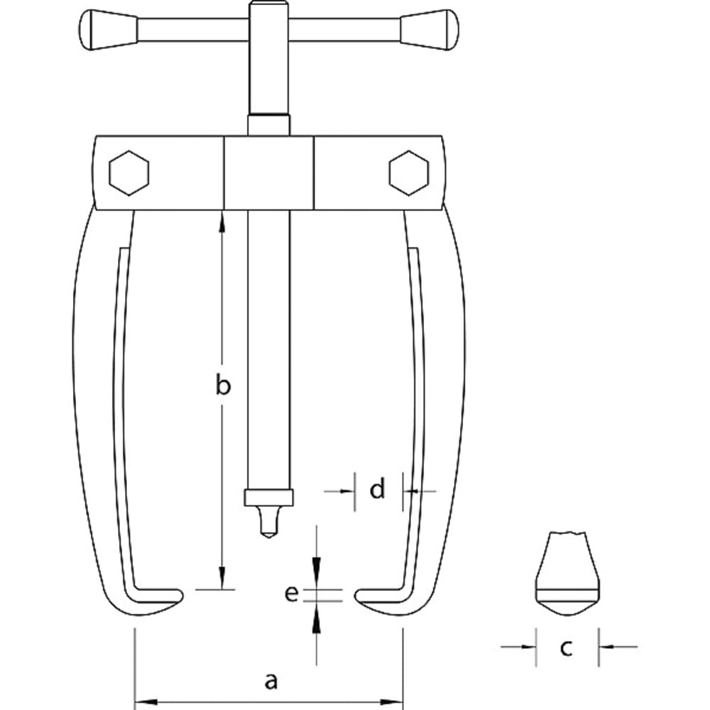
- Hakenfussbreite an der Nutzfläche c1 [mm]: 8 mm
- Hakenfussstärke an der Spitze e1 [mm]: 2 mm
- Hakenfusstiefe nutzbar d2 [mm]: 3 mm
- Hydraulikspindel vorhanden: Nein
- Inhalt (Anzahl Stück): 1 tlg.
- Nachrüstbar mit Hydraulikspindel: Nein
- Netto-Gewicht [g]: 240 g
- Netto-Gewicht [kg]: 0,24 kg
- REACH Registrierung vorhanden: Nein
- Schrauben inklusive: Nein
- selbsttätiges Anpressen: Nein
- Spannbügel vorhanden: Nein
- Spanntiefe nutzbar b [mm]: 70 mm
- Spannweite Aussenabziehen (max.) [mm]: 50 mm
- Spindel Abrutschsicherung: Nein
- Spindel Gewindegrösse: M 10x1,5 x 100
- umdrehbare Arme vorhanden: Nein
- Zolltarifnummer: 82055980
- Zugkraft (max.) [t]: 0.5 t
Technische Daten
| Name | Wert |
|---|---|
| % SALE % | Nein |
| Gewinde | M 10x1,5 x 100 |
| Marke | GEDORE |
| Spanntiefe nutzbar (mm) | 70 |
| Spannweite max (mm) | 50 |
| Typ | 1.18/0XS |
| Zugkraft (t) | 0.5 |



