Infos
- Equipement:
- 12 V
- 1 x 3W W2. 1 x 9.5d 12256
- 24 V
- 1 x 3W W2. 1 x 9.5d 13256
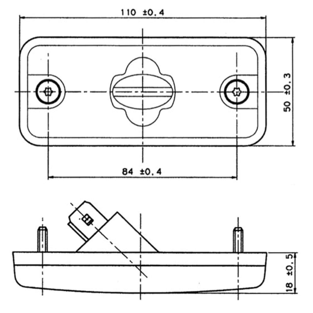
Caractéristiques techniques
| Désignation | Valeur |
|---|---|
| % SALE % | Non |
| Catadioptre | avec |
| Connexion | SUPERSEAL |
| Couleur(s) | orange |
| Hauteur (mm) | 50 |
| Largeur (mm) | 110 |
| Marque | VIGNAL |
| Profondeur (mm) | 18 |
| Source lumineuse | sans ampoule |
| Type | 193170 / FPL 93 DK3R |
| Version | Montage encastré |
Fiche technique et téléchargements
Dessins techniques





